亞馬遜蜂巢設計完成無人機配送
已有人閱讀此文 - -
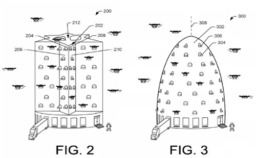
如果亞馬遜的包裝無人機成為現實,那么有可能有一天會從世界各地的城市中挑選出蜂巢狀建筑物的交貨。
無人機設計
該專利于6月22日在線發表,描述了“無人駕駛飛機的多層次實施中心”,展示了亞馬遜如何計劃將包裹交付提升到一個新的水平。
這些天,亞馬遜的倉庫“通常是大型單層倉庫建筑”,位于城市郊區,該公司在2015年提交的專利中寫道。然而,“這些地點不適合亞運會表示,亞運會交付到越來越多人居住的城市。
如果這些倉庫可以在城市建成,那么這將減少亞馬遜客戶在那里生活和工作的交貨時間。但是,由于房地產在市區有限,亞馬遜提出了一個解決辦法:它可以建立一個未來派的高層,將存儲零售物品,并作為提供客戶訂單的無人機的基地和機場。
無人機配送
該專利描述了建筑物將如何設置無人機著陸和起飛的多層平臺。 亞馬遜說,為了防止無人機失靈或發生故障,該公司將在戰略地區放置一個“沖擊阻尼器”,如泡沫或網絡。
該公司將以老式的方式存放蜂巢架,即通過卡車,鐵路或船舶安排貨物運輸。然后,亞馬遜說,人力和機器人設備將卸載,然后包裝訂單。
此外,如果客戶有時間停留在中心,他們可以根據專利在自助服務場所,包括儲物柜或人員接送室進行訂單。
但是,該建筑物的主要原因是無人機的起飛和交付 - 搶斷了展會。訂單包裝后,可以是機器人,電梯,輸送帶或某種提升機構的“內部運輸機器人”將將一個無人機從一個保持區移動到一個用于充電和起飛的平臺。
無人機專利
這一步是關鍵:根據專利,將無人機帶到更高的起降位置,從而節省了無人機的能量,因為它能夠升高到巡航高度。該專利說,高起飛平臺也將不受“無人駕駛”影響,遠離街道,有利于減少行人的噪音污染。
無人機材料性能
要實現無人機飛行
低能耗:就要采用輕型材料.
耐摔:材料需要具備良好的韌性.
耐老化:抗uv讓無人機使用壽命更長降低企業的成本。
了解更多材料的性能就上-搜料網。

