【全網首發】2022年中國塑料行業大數據及行業數字化分析報告
已有人閱讀此文 - -

全文 3370 字,建議閱讀時長 5 分鐘
根據國家統計局發布的數據顯示,2021年全國塑料制品產量為8004萬噸,到2022年全國塑料制品產量為7771.6萬噸,同比8004萬降低了2.9%。經過了疫情科學管控及放開,我國塑料制品產量雖有下降,但在復工熱潮等因素下,將有望于2023年大幅增長。
數據來源:國家統計局
根據國家統計局數據顯示:2022年中國塑料制品主要集中在華東、華南、華中地區生產,其中華東地區的產量是最高的,華南其次。
數據來源:國家統計局
根據海關總署統計數據,2022年,我國塑料及其制品(海關編碼39)進出口總額為2187億美元(2022年我國進出口總額為6.31萬億美元),同比2021年的2137億美元增長27.7%。其中,出口為1435.3億美元(2022年我國出口總額為35636億美元),同比2021年的1310.8億美元增長9.5%;進口為751.9億美元(2022年我國進口總額為27160億美元),同比2021年的828.2億美元下降9.2%,我國塑料及其制品貿易差額為683.4億美元。總體來看,我國塑料及其制品(海關編碼39)2022年整體出口穩定增長。
數據來源:國家海關總署
根據海關總署統計數據,2022年我國塑膠原料(海關編碼3901-3913,累計13個大類)進口額為542.3億美元,相比2021年降低了10.89%。
13個大類指的是:
“初級形狀的乙烯聚合物"
"初級形狀的丙烯或其他烯烴聚合物"
"初級形狀的苯乙烯聚合物"
"初級形狀的氯乙烯或其他鹵化烯烴聚合物"
"初級形狀的乙酸乙烯酯或其他乙烯酯聚合物;初級形狀的其他乙烯基聚合物"
"初級形狀的丙烯酸聚合物"
"初級形狀的聚縮醛、其他聚醚及環氧樹脂;初級形狀的聚碳酸酯、醇酸樹脂、聚烯丙基酯及其他聚酯"
"初級形狀的聚酰胺"
"初級形狀的氨基樹脂、酚醛樹脂及聚氨酯"
"初級形狀的聚硅氧烷"
"初級形狀的石油樹脂、苯并呋喃-茚樹脂、多萜樹脂、多硫化物、聚砜及本章注釋3所規定的其他品目未列名產品"
"初級形狀的其他品目未列名的纖維素及其化學衍生物"
"初級形狀的其他品目未列名的天然聚合物(例如藻酸)及改性天然聚合物(例如,硬化蛋白、天然橡膠的化學衍生物)"
數據來源:國家海關總署
就簡單的數據分析而言,2022年我國用進口的542.3億美元的塑膠原料及國內其他塑膠原料生產了1435.3億美元的塑料及其制品來進行出口,創造了893億美元的貿易順差。這種趨勢從2018到2022越來越明顯。

從地域分布來看,2022年塑料互聯網注冊用戶數量排名前五的省份仍然是為廣東省、浙江省、江蘇省、上海市、山東省。廣東和江浙滬是塑料行業數字化踐行者的生力軍,累計占據約60%的塑料網民比例。值得關注的是,相比2021年、2020年、2019年,由于中國其他區域的塑料制造也開始逐步發展,這一比例正在慢慢降低。
從企業類型來看,2022年及2021年兩年,塑料成型廠(典型代表如富士康)和塑料用戶終端(典型代表如華為)通過互聯網搜料、問料、買料的習慣及趨勢并沒有因疫情受到影響,依舊是塑料產業數字化的主力軍。在這些使用互聯網的塑料行業人員當中,2022年有高達75%是他們各自所在企業的選料用料買料決策者(采購、研發、項目負責人、公司負責人、生產)。一個簡單的例子是,截止到2022年底,華為和富士康都各有123名上述崗位的員工在使用【搜料·工程塑料超市】。
塑料產業訪問搜料網的崗位類型占比
從塑料行業從業人員最關心的材料種類來看,2022年塑料產業上下游用戶主動輸入搜索最多的塑料種類是PC和PP,其次是ABS、PA66、PA6。這一點與2021年相似,但整體搜索頻率上升。

塑料行業從業人員最關心的材料種類與我國2022年對相應品類的進口量高度匹配,證明用戶在【搜料·工程塑料超市】上的檢索行為與其采購決策的正向相關性極大。

從塑料行業從業人員最關心的塑料型號來看,2022年,關注度最高的牌號分別為韓國樂天 PC-1100、SABIC PC EXL9330、TULAMID® PA-TM20、ELASTEL™ PROD-63,其中韓國樂天 PC-1100 搜索量約高達SABIC PC EXL9330搜索量的2倍。
針對上述高關注型號,搜料在天津、寧波、蘇州、廣州、東莞設有現貨倉儲,里面和平臺供應商一起存放著超過10000個能夠實現在工作日下單付款后最快3小時發貨的國內外標準型號。品牌涵蓋SABIC、杜邦、巴斯夫、帝斯曼、埃克森美孚、樂天、奇美、塞拉尼斯、EMS、科思創、寶理、LG、樂天尖端、臺化出光、索爾維、DIC、東麗、三菱、旭化成、新光、長春,等主流工程塑料品牌。
而且購買起來也非常方便,無需擔心供應商放假、更無需擔心面對面感染!在選好自己需要的牌號后,直接填寫數量,系統會根據數量自動對應到相應的階梯價(如無特殊說明,報價已含法定增值、含運費,全國包郵!!!),隨后自動生成銷售合同,拿合同直接找財務付款,在辦公室坐等收貨就可以!
作為中國領先的工程塑料數字化產業平臺,2022年【搜料·工程塑料超市】的塑料行業注冊用戶數量已經突破12萬個,訪客量達到8002807人次,累計點擊量約15億次,承諾只賣原廠原包真貨的供應商(大多是原廠、代理商、經銷商)超500家,平臺新增詢盤線索數量穩定增長,并順利完成17億元人民幣的銷售額。
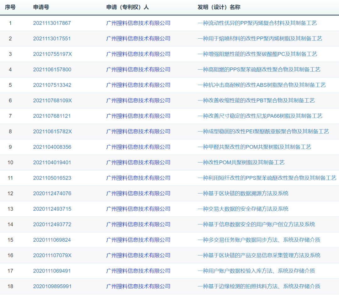
作為行業內超大型的中文塑料數據庫,【搜料·工程塑料超市】收錄了超過100萬個國內外標準的塑料牌號(型號+色號)的相關技術資料。涵蓋物性表、材質證書、加工參數、價格行情、故障排除、應用案例、色號系統、進出口數據等8個維度和拍照找料、超級搜索、一鍵對比、找替代料、認證搜索、汽車搜索、醫療搜索等7個數據加工方式。在國家推崇知識產權保護的政策下,搜料目前累計申請了67個國家發明專利,取得16項軟件著作權,58個注冊商標。
搜料申請的部分發明專利明細
除了國內外廠家品牌的標準原包產品分銷,與此同時,為了順應在塑膠原材料領域的國產替代、快交期、高性價比的趨勢,依托15年的進口品牌工程塑料分銷經驗,搜料針對本土用戶的需求,在華東華南分別研發生產高性能的優質產品,涵蓋的品類有:
改性 PC:PC防火、PC加纖、耐寒超韌PC、醫療PC、食品級PC、高溫透明PC、鐳雕PC、光擴散PC、車燈PC、耐候PC,等等;
PC 合金:PC/ABS、PC/ASA、PC/PBT、PC/PEI、PC/PET,等等;
普通尼龍、高溫尼龍及特種尼龍改性:PA66、PA6;PPA、PARA、PA9T/6T/4T、PA46、PA12、PA612,等等;
特種工程塑料 PPS、PEEK、PEI及POM、PET、PBT、PPO等。
涉足的性能改良方面包括:超韌、高強度、高耐溫、阻燃、超耐磨、耐腐蝕、耐水解、導電抗靜電,等等。
搜料定制(塑擎實業是搜料定制的生產載體)的高性能材料目前已廣泛應用在汽車配件、醫療器械、電子電氣,家用電器、電動工具、OA設備、照明燈飾等領域,并已經成功直接或間接出口到韓國、法國、烏茲別克斯坦。
如果想在搜料買國內外品牌的原廠原包材料、按自己的需求定制材料、開網店上傳商品上傳報價、付費購買更多進出口數據/價格走勢報告、投資合作及其余商務事宜,請把您的訴求直接發給 mlc@soliao.com,或登錄 m.kanyidian.cn 聯系客服、您也可以撥打 400-6700-720、15014248649(微信同號)。

